suncitygroup太阳集团,15vip太阳集团

College of Intelligent Science and Engineering

当前所在位置: 学院首页 >> 学术科研 >> 科研成果 正文

刘文锋授权发明专利1项


作者: 发布时间:2026年03月25日 08:46点击次数: 来源:

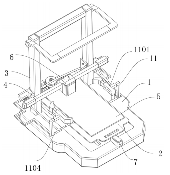
专利名称:一种基于3D打印机使用的脱料机构

该专利的核心创新在于针对3D打印技术的脱料难题,设计了一套高效、精准且对设备损伤极低的脱料机构。

在光固化3D打印工艺领域,脱料一直是影响生产效率和制件质量的关键瓶颈之一。该装置在结构设计、脱料结构以及操作方式三个方面实现了创新,巧妙地结合了机械结构和电动驱动,能够在保持模型完整性的前提下,实现与打印平台的快速分离。结果显示,该装置能够显著降低对打印面板表面的损伤,这对提升3D打印基板的重复使用率和制件精度具有重要意义。(审核:彭双志、蒋莉、赵中华)





      版权所有:suncitygroup太阳集团(15vip-MACAU)官网-欢迎光临     
      地址: 岳塘区书院路17号 邮编:411101      
电话:0731-58688969    传真:0731-58688969

Baidu
sogou